平台介绍
查看报价:N8产品报价链接地址
N8汽车服务综合管理平台简介
全国领先的汽车服务综合管理平台,快修店,加盟店,汽车4S集团解决方案

N8汽车服务管理平台是服务汽车4S店,美容快修店及加盟店的一整套汽车管理行业平台,主要分以下模块:售前客户跟踪系统、车辆销售系统、整车仓库、维修管理加强保险与厂家索赔、精品管理、客户管理加强(客户回访、投诉、救援、保险)、会员管理、会员消费管理、客户关怀(提醒、套餐、短信)、财务管理加强、知识管理、业务报表、网站互通、个人门户共14个模块259个功能。各大模块相对独立,可供用户选择性使用。在技术上将优化加强底层框架,适用汽车4S店及配件商、加盟快修店流程的一致和个性化;加入流程引擎,实现界面的灵活可配性,加强各种逻辑节点的可配可选性,实现平台的产品化。凭借高素质的开发团队,卓越的技术能力,为用户提供先进的汽车管理解决方案,帮助用户优化管理,降低成本创造价值,提高效率,赢得众多用户的好评和信赖。
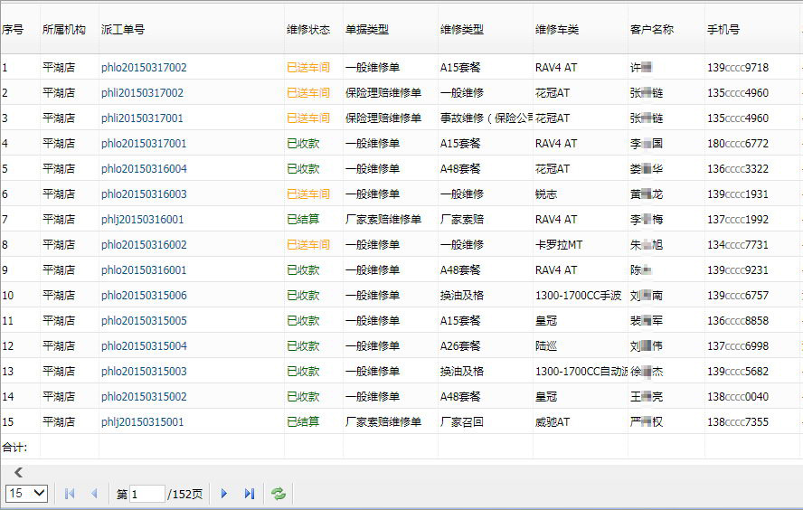
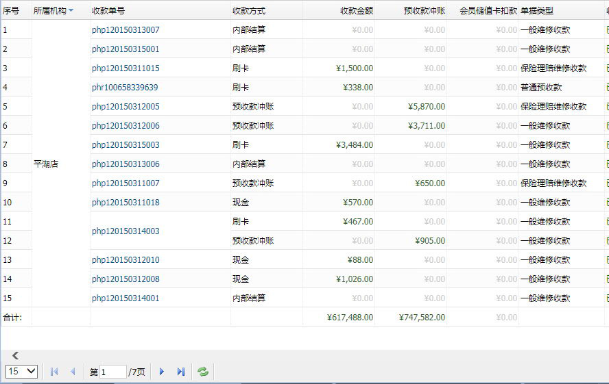
提供超过100个以上各类业务统计报表,实例参考:
N8汽车服务综合管理平台为您全面数据分析提供可靠依据!
越发现,越完美!提供7大类经营分析报表

N8汽车服务综合管理平台,快速高效的管理系统
创新动力,智在未来!

N8汽车4S店管理系统
N8汽车4S店管理系统是服务于汽车4S店的专业化的管理系统,系统主要分以下模块:整车销售、整车仓库、维修管理、物资管理、财务管理、客户管理、会员服务、统计分析、基础数据、系统管理等。各大模块相对独立,可供用户选择性使用。在技术上加强了底层框架建设,能满足汽车4S店、汽车厂家、...点击详情>>
N8汽车维修美容管理系统
N8汽车维修管理系统、汽车美容软件主要包括:维修管理、物资管理、财务管 理、客户管理,会员管理、统计分析,基础数据等模块;功能上全面实用、操作简单、适用性强、运行稳定能最大限度的满足汽车维修企业粗犷式的发展模式;在管理上,实现了维修企业业务环节完整化、业务流程标准化、业务操作简单化、业务管理高效化的管理目标。点击详情>>
N8企业进销存管理系统
N8进销存管理软件广泛适用于商场、超市,贸易公司和各类生产企业。 实时掌握终端销售、库存信息,优化库存结构,降低经营风险。 通过采购计划、机构物资调拨、库存预警、呆件提醒等功能有效降低库存,盘活资产。 多层次报表分析,准确掌握店面和产品销售情况,为企业经营决策提供重要依据。 点击详情>>
N8汽车微服务管理平台
N8汽车微服务管理平台是服务于汽车4S店车主的一套微型服务平台,主要分为以下模块:消费查询、在线预约、最新动态、爱车服务、名品导购、精品车饰、关于我们、联系我们等模块。车主不仅可以通过手机客户端,及时查询爱车消费记录,查询会员卡内余额,预约维修美容、获取爱车续保信息等,还能通过微服务平台采购爱车精品车饰、采购一些奢侈品等。点击详情>>




首 页
平台介绍
产品系列
在线试用
视频演示
联系我们





































